电控汽油喷射系统 EFI(Electronic Fuel Injection)是利用电子控制技术控制喷油器,将一定数量和压力的汽油直接喷射到进气管道或汽缸中,与进入的空气混合而形成可燃混合气的汽油机燃油供给装置。
一、化油器燃油供给系统与电控燃油喷射系统的比较:
与传统化油器式发动机相比,装有电控汽油喷射系统的发动机具有下列优点:
1、由于进气管道中没有喉管,提高了发动机的充气效率,增加了发动机的功率和转矩。
2、对可燃混合气成分进行精确的控制,使发动机在任何工况下都处于最佳的工作状态。
3、发动机各缸可燃混合气量的分配更加均匀,节省燃油并减少废气排放中的有害成分。 采用汽油喷射系统的发动机与传统的化油器式发动机相比,发动机的功率可提高5%~10%,油耗降低 5%~10%,废气中有害排放含量减少 15%~20%,能满足目前严格的排放及燃料经济性法规的要求。
二、分类
1. 按喷射控制装置的型式分类
机械控制式
机电混合控制式
电子控制式。
2. 按喷油器喷射部位的不同分类
缸内喷射(直接喷射):喷射压力较高,约 3~5MPa。
缸外喷射:分为进气管(节气门体喷射,单点喷射)和进气道喷射(多点喷射),
进气管喷射(节气门体喷射)
1—空气阀 2—油压调节器 3—回油管 4—喷油器 5—节气门体 6—节气门
进气道喷射(多点喷射)
1—进气支管 2—进气道 3—进气门 4—密封圈 5—喷油器 6—接线柱
3. 按进气量的检测方式分类
流量型系统:以质量流量方式检测进气量,即用空气流量计直接检测出进气管的空气流量,用测得的空气流量除以发动机的转速而得每一循环的空气量,由此算出每一循环的汽油喷射量。此方法检测精度高,目前使用较为广泛。
压力型系统:以速度——密度方式检测进气量,即通过压力传感器测出进气管的压力,再根据发动机的转速间接地推算出进气流量,从而确定汽油喷射量。因进气管压力与吸入的空气量间不是简单的线性关系,故此法的检测精度不高。
4. 按喷射方式
连续喷射:在发动机工作期间,喷油器连续不断地向进气道内喷油,且大部分汽油是在进气门关闭时喷射的。这种喷射方式大多用于机械控制式或机电混合控制式汽油喷射系统。
间歇喷射:在发动机工作期间,汽油被间歇地按一定规律喷入进气道内。电子控制汽油喷射系统都采用间歇喷射方式。 间歇喷射还可按各缸喷射时间分为同时喷射、分组喷射和顺序喷射等三种形式。
同时喷射是电控单元发出同一个指令控制各缸喷油器同时喷油
分组喷射是指各缸喷油器分成两组,每一组喷油器共用一根导线与电控单元连接,电控单元在不同时刻先后发出指喷油器按发动机两个喷油指令,分别控制两组的喷油器交替喷射。
顺序喷射则是各缸的工作顺序进行喷射。电控单元根据曲轴位置传感器信号,辨别各缸的进气行程,适时发出各缸喷油指令以实现顺序喷射。
同时喷射控制方式电路 分组喷射控制方式电路
1—ECU 2—喷油器 1—ECU 2—喷油器

顺序喷射方式控制电路
1—ECU 2—喷油器
三、系统组成和工作原理
1. 系统组成
电子控制汽油喷射系统的类型较多,但其组成基本相同,即由燃油供给系统、空气供给系统、电子控制系统组成。
1) 燃油供给系统
燃油供给系统是向汽缸内供给燃烧时所需一定量的燃油。主要由燃油箱、燃油泵、燃油滤清器、燃油压力调节器及喷油器等组成。
燃油供给系统
2) 空气供给系统
为发动机可燃混合气的形成提供必要的空气,并测量和控制空气量。主要由空气滤清器 、空气流量传感器 、进气总管及进气支管等组成。
空气供给系统
1—空气滤清器 2—空气流量传感器 3—PCV 管 4—怠速开关控制传感器
5—进气总管 6—进气歧管 7—空气阀
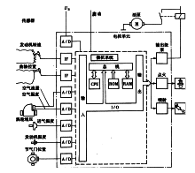
3) 电子控制系统
主要由电控单元 ECU(Electronic Control Unit)、各种传感器及执行器三部分组成
电子控制系统
1—空气流量传感器 2—碳罐电磁阀 3—点火模块和点火线圈 4—进气温度传感器 5—进气歧管压力传感器 6—废气再循环阀 7—节气门体 8—曲轴箱强制通风阀 9—冷却水温传感器 10—机油压力传感器 11—爆震传感器 12—喷油器组件 13—曲轴转速传感器 14—曲轴位置传感器 15—氧传感器 16—凸轮轴位置传感器
2. 工作原理
电子控制汽油喷射系统 EFI 是以一个电控单元 ECU 为控制中心,利用安装在发动机上不同部位的传感器,测出发动机的各种运行参数,精确的计算进入汽缸的空气量,再按照电控单元中预存的控制程序精确地控制喷油,使发动机在各种工况下都能获得最佳浓度的混合气,以求得最佳的动力性、经济性及排放性。
1) L 型汽油喷射系统
多点、间歇式汽油喷射系统。它以发动机的进气量和发动机转速作为基本控制参
数,从而提高了喷油量的控制精度。

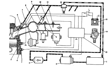
发动机电子控制系统工作原理图 L 型汽油喷射系统
1-汽油箱 2—电动汽油泵 3—燃油滤清器 4—燃油分配管 5—油压调节器 6—电控单元7—喷油器 8—冷启动喷嘴 9—怠速调节螺钉 10—节气门位置传感器 11—节气门 12—空气流量计13—进气温度传感器 14—继电器组 15—氧传感器 16—发动机温度传感器 17—热时间开关18—分电器 19—补充空气阀 20—怠速混合气调节螺钉 21—蓄电池 22—点火开关
2)LH 型汽油喷射系统:
与L型汽油喷射系统的结构和工作原理基本相同,不同之处是 LH型采用热线式空气流量计,而 L型采用翼片式空气流量计。热线式空气流量计无运动部件,进气阻力小,信号反应快,测量精度高。另外,LH 型汽油喷射系统的电控装置采用大规模数字集成电路,运算速度快,控制范围广,功能更加完善。
LH 型汽油喷射系统
1—汽油箱 2—电动汽油泵 3—汽油滤清器 4—燃油分配管 5—油压调节器 6—热线式空气流量计 7—补充空气阀 8—冷启动喷嘴 9—喷油器 10—氧传感器 11—空气滤清器 12—节气门位置传感器 13—节气门 14—发动机温度传感器 15—热时间开关 16—分电器 17—电控单元 18—点火开关 19—蓄电池
3) D 型汽油喷射系统
它是最早应用在汽车发动机上的电子控制多点间歇式汽油喷射系统,其基本特点是以进气管压力和发动机转速作为基本控制参数,用来控制喷油器的基本喷油量。
D 型汽油喷射系统的工作原理与 L 型汽油喷射系统类似。结构简单,工作可靠。但控制精度稍差,当大气状态有较大变化时,汽车加速反应不良。现代汽车发动机上所使用的 D型汽油喷射系统都是经过改进的,如采用运算速度快、内存容量大的微机,完善控制功能等。
D 型汽油喷射系统
1—汽油箱 2—电动汽油泵 3—汽油滤清器 4—发动机温度传感器 5—热时间开关 6—喷油器 7—进气管压力传感器 8—补充空气阀 9—冷启动喷嘴 10—节气门位置传感器 11—进气温度传感器 12—油压调节器 13—蓄电池 14—分电器 15—电控单元
4) 节气门体汽油喷射系统
单点喷射系统。与上述多点喷射系统不同,单点喷射系统只用一个或两个安装在节气门体上的喷油器,将汽油喷入节气门前方的进气管内,并与吸入的空气混合形成混合气,再通过进气支管分配至各汽缸。
节气门体汽油喷射系统
1—汽油箱 2—电动汽油泵 3—汽油滤清器 4—油压调节器 5—喷油器 6—进气温度传感器 7—电控单元 8—氧传感器 9—发动机温度传感器 10—怠速控制阀 11—节气门及节气门位置传感器 12—分电器及曲轴位置传感器 13—蓄电池 14—点火开关 15—继电器
我司(www.mmaan.com)专业生产和销售发动机电控燃油喷射实物演示装置,欢迎来电咨询和洽谈,点击图片了解详情。

