澄清池是将絮凝和沉淀这两个单元过程综合于一个构筑物中完成,主要依靠活性泥层达到澄清的目的。当脱稳杂质随水流与泥渣层接触时,便被泥渣层阻留下来,使水得到澄清。泥渣层的形成方法是在澄清池开始运行时,在原水中加入较多的混凝剂,并适当降低负荷,逐步形成。
澄清池的种类和形式很多,基本上可分为泥渣悬浮型和泥渣循环型,水力循环澄清属泥渣循环型。泥渣循环型澄清池的特点是:泥渣在一定范围内循环利用,在循环过程中,活性泥渣不断与原水中脱稳微粒进行接触絮凝作用,使杂质从水中分离出去。
澄清池的种类和形式很多,基本上可分为泥渣悬浮型和泥渣循环型,水力循环澄清属泥渣循环型。泥渣循环型澄清池的特点是:泥渣在一定范围内循环利用,在循环过程中,活性泥渣不断与原水中脱稳微粒进行接触絮凝作用,使杂质从水中分离出去。

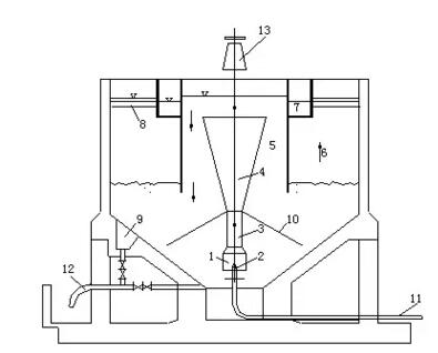
原水从池底进入,先经喷嘴高速喷人喉管,在喉管下部喇叭口附近造成真空而吸入回泥渣,原水与回流泥渣在喉管中剧烈混合后,被送人第一絮凝池(反应室)和第二絮凝(反应室)。从第二絮凝池流出的泥水混合液,在分离室中进行泥水分离。清水向上,泥渣则一部分进入泥渣浓缩室,一部分被吸人喉管重新循环,如此周而复始。原水流量与泥渣回流量之比,一般为1:2~1:4。喉管和喇叭口的高低可用池顶的升降阀调节。
水力循环澄清池运行演示教学模型

